J. Semicond. > 2020, Volume 41?>?Issue 12?> 122401

ARTICLES

A 16-bit 1 MSPS SAR ADC with foreground calibration and residual voltage shift strategy

Xian Zhang1, Xiaodong Cao1, 2, and Xuelian Zhang2

+ Author Affiliations

 Corresponding author: Xiaodong Cao, Email: xdcao@semi.ac.cn

DOI: 10.1088/1674-4926/41/12/122401

PDF

Turn off MathJax

Abstract: In this paper, a 16-bit 1MSPS foreground calibration successive approximation register analog-to-digital converter (SAR ADC) is developed by the CMOS 0.25 μm process. An on-chip all-digital foreground weights calibration technique integrating self-calibration weight measurement with PN port auto-balance technique is designed to improve the performance and lower the costs of the developed SAR ADC. The SAR ADC has a chip area of 2.7 × 2.4 mm2, and consumes only 100 μW at the 2.5 V supply voltage with 100 KSPS. The INL and DNL are both less than 0.5 LSB.

Key words: foreground all-digital calibrationRS strategyRS-based ditherauto-zero comparatorSAR ADC



[1]
Kim W, Hong H K, Roh Y J, et al. A 0.6 V 12 b 10 MS/s low-noise asynchronous SAR-assisted time-interleaved SAR (SATI-SAR) ADC. IEEE J Solid-State Circuits, 2016, 51, 1826 doi: 10.1109/JSSC.2016.2563780
[2]
Shikata A, Sekimoto R, Kuroda T, et al. A 0.5 V 1.1 MS/sec 6.3 fJ/conversion-Step SAR-ADC with tri-level comparator in 40 nm CMOS. IEEE J Solid-State Circuits, 2012, 47, 1022 doi: 10.1109/JSSC.2012.2185352
[3]
Harpe P, Cantatore E, van Roermund A. A 10b/12b 40 kS/s SAR ADC with data-driven noise reduction achieving up to 10.1b ENOB at 2.2 fJ/conversion-step. IEEE J Solid-State Circuits, 2013, 48, 3011 doi: 10.1109/JSSC.2013.2278471
[4]
Nuzzo P, De Bernardinis F, Terreni P, et al. Noise analysis of regenerative comparators for reconfigurable ADC architectures. IEEE Trans Circuits Syst I, 2008, 55, 1441 doi: 10.1109/TCSI.2008.917991
[5]
Verbruggen B, Tsouhlarakis J, Yamamoto T, et al. A 60 dB SNDR 35 MS/s SAR ADC with comparator-noise-based stochastic residue estimation. IEEE J Solid-State Circuits, 2015, 50, 2002 doi: 10.1109/JSSC.2015.2422781
[6]
Zhong J Y, Zhu Y, Chan C H, et al. A 12b 180MS/s 0.068mm2 with full-calibration-integrated pipelined-SAR ADC. IEEE Trans Circuits Syst I, 2017, 64, 1684 doi: 10.1109/TCSI.2017.2679748
[7]
Verma N, Chandrakasan A P. An ultra low energy 12-bit rate-resolution scalable SAR ADC for wireless sensor nodes. IEEE J Solid-State Circuits, 2007, 42, 1196 doi: 10.1109/JSSC.2007.897157
[8]
Shen J H, Shikata A, Fernando L D, et al. A 16-bit 16-MS/s SAR ADC with on-chip calibration in 55-nm CMOS. IEEE J Solid-State Circuits, 2018, 53, 1149 doi: 10.1109/JSSC.2017.2784761
[9]
Chen Y, Zhu X, Tamura H, et al. Split capacitor DAC mismatch calibration in successive approximation ADC. IEICE Trans Electron, 2010, 93, 295 doi: 10.1109/CICC.2009.5280859
[10]
McNeill J A, Chan K Y, Coln M C W, et al. All-digital background calibration of a successive approximation ADC using the “split ADC” architecture. IEEE Trans Circuits Syst I, 2011, 58, 2355 doi: 10.1109/TCSI.2011.2123590
[11]
Hummerston D, Hurrell P. An 18-bit 2MS/s pipelined SAR ADC utilizing a sampling distortion cancellation circuit with –107dB THD at 100kHz. 2017 Symp VLSI Circuits, 2017, C280
[12]
McCreary J L, Gray P R. All-MOS charge redistribution analog-to-digital conversion techniques. I. IEEE J Solid-State Circuits, 1975, 10, 371 doi: 10.1109/JSSC.1975.1050629
[13]
Harpe P J, Zhou C, Bi Y, et al. A 26 W 8 bit 10 MS/s asynchronous SAR ADC for low energy radios. IEEE J Solid-State Circuits, 2011, 46, 1585 doi: 10.1109/JSSC.2011.2143870
[14]
Li H X, Maddox M, Coln M C W, et al. A signal-independent background-calibrating 20b 1MS/s SAR ADC with 0.3ppm INL. 2018 IEEE International Solid-State Circuits Conference, 2018
[15]
Liu C C, Chang S J, Huang G Y, et al. A 10-bit 50-MS/s SAR ADC with a monotonic capacitor switching procedure. IEEE J Solid-State Circuits, 2010, 45, 731 doi: 10.1109/JSSC.2010.2042254
[16]
Harpe P, Zhang Y, Dolmans G, et al. A 7-to-10b 0-to-4MS/s flexible SAR ADC with 6.5-to-16fJ/conversion-step. 2012 IEEE International Solid-State Circuits Conference, 2012, 472
[17]
Seo M J, Roh Y J, Chang D J, et al. A reusable code-based SAR ADC design with CDAC compiler and synthesizable analog building blocks. IEEE Trans Circuits Syst II, 2018, 65, 1904 doi: 10.1109/TCSII.2018.2822811
[18]
Harpe P, Cantatore E, van Roermund A. An oversampled 12/14b SAR ADC with noise reduction and linearity enhancements achieving up to 79.1dB SNDR. 2014 IEEE International Solid-State Circuits Conference Digest of Technical Papers (ISSCC), 2014, 194
[19]
Miki T, Morie T, Matsukawa K, et al. A 4.2 mW 50 MS/s 13 bit CMOS SAR ADC With SNR and SFDR enhancement techniques. IEEE J Solid-State Circuits, 2015, 50, 1372 doi: 10.1109/JSSC.2015.2417803
[20]
Hurrell C P, Lyden C, Laing D, et al. An 18 b 12.5 MS/s ADC with 93 dB SNR. IEEE J Solid-State Circuits, 2010, 45, 2647 doi: 10.1109/JSSC.2010.2075310
[21]
Wagdy M F, Goff M. Linearizing average transfer characteristics of ideal ADC's via analog and digital dither. IEEE Trans Instrum Meas, 1994, 43, 146 doi: 10.1109/19.293411
[22]
Lee C C, Lu C Y, Narayanaswamy R, et al. A 12b 70MS/s SAR ADC with digital startup calibration in 14nm CMOS. 2015 Symposium on VLSI Circuits (VLSI Circuits), 2015, C62
[23]
Shen J H, Shikata A, Fernando L, et al. A 16-bit 16MS/s SAR ADC with on-chip calibration in 55nm CMOS. 2017 Symposium on VLSI Circuits Digest of Technical Papers, 2017
[24]
Maddox M, Chen B Z, Coln M, et al. A 16 bit linear passive-charge-sharing SAR ADC in 55nm CMOS. 2016 IEEE Asian Solid-State Circuits Conf (A-SSCC), 2016, 153
Fig. 1.  The ADC system architecture.

Fig. 2.  Comparator block diagram.

Fig. 3.  Preamplifier.

Fig. 4.  Multiphase clock of the self-timer.

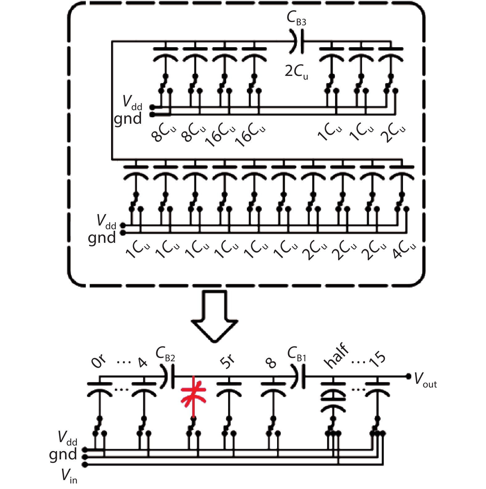
Fig. 5.  The schematic of half CDAC.

Fig. 6.  (a) Control logic circuit. (b) High-segment MUX switch circuit.

Fig. 7.  (a) Weights of a 6 phase SAR ADC and the start phase. (b) Residual voltage curves of P and N curves.

Fig. 8.  (Color online) (a) Simulation residual voltage with third bit error. (b) Simulation residual voltage with second bit error.

Fig. 9.  Simulated noise floor level versus number of RS bits.

Fig. 10.  (Color online) (a) Residual voltage curves. (b) Start phase and RS bits.

Fig. 11.  (Color online) Simulated INL and DNL with/without RS strategy.

Fig. 12.  (Color online) Simulated noise floor with/without RS-based dither.

Fig. 13.  (a) Calibration start phase of the P bits (b) Calibration start phase of the N bits.

Fig. 14.  (Color online) Simulated noise floor level versus average number.

Fig. 15.  Auto-balance circuit.

Fig. 16.  (Color online) Simulated results of INL and DNL with/without calibration.

Fig. 17.  (Color online) Simulated results of noise floor with/without calibration.

Fig. 18.  Simulated results of the average absolute value of weight errors versus temperature.

Fig. 19.  (Color online) The layout of the 16bit 1MSPS SAR ADC with on-chip calibration.

Fig. 20.  (Color online) The post-layout simulated result of the residual voltage.

Table 1.   Weight calculation.

$ {R}_{[H,M,L]} $$ {C}_{{\rm{eq}}[H,M,L]} $
$ {R}_{H}=1 $${C}_{ {\rm{eq} }\left[H\right]}=\dfrac{ {C}_{\rm{B1}}+{C}_{ {\rm{t} }\left[M\right]} }{ {C}_{\rm{B1} } {C}_{ {\rm{t} }\left[M\right]} }$
${R}_{\left[M\right]}={R}_{H} \dfrac{ {C}_{\rm{B1}} }{ {C}_{t\left[H\right]} }$${C}_{ {\rm{eq} }\left[M\right]}=\dfrac{ {C}_{ {\rm{B} }1}+{C}_{\rm{t}\left[H\right]} }{ {C}_{ {\rm{B} }1} {C}_{\rm{t}\left[H\right]} }+\dfrac{ {C}_{\rm{B2}}+{C}_{ {\rm{t} }\left[L\right]} }{ {C}_{\rm{B2}} {C}_{ {\rm{t} }\left[L\right]} }$
${R}_{\left[L\right]}={R}_{\left[M\right]} \dfrac{ {C}_{\rm{B2}} }{ {C}_{\rm{t}\left[M\right]} }$${C}_{ {\rm{eq} }\left[L\right]}=\dfrac{ {C}_{\rm{B2}}+{C}_{\rm{t}\left[L\right]} }{ {C}_{\rm{B2}} {C}_{\rm{t}\left[L\right]} }$
DownLoad: CSV

Table 2.   The comparison with high-resolution and medium-speed SAR ADCs.

ParameterShen[8]Maddox[24]Mc Neill[10]This work
TypeSARSARSARSAR
Resolution (bit)16-bit16-bit16-bit16-bit
Speed (MS/s)16111
INL (LSB)–1.9/+2.3–0.8/0.8–0.5/+0.5–0.5/0.5
DNL (LSB)–0.8/+0.8–0.3/0.3–0.5/+0.5–0.8/0.8
SFDR (dB)/
SNDR (dB)
98/78100/81NA110/101
Power (mW)166.95NA11
FOM (dB)138129NA127
Area (mm2)0.554.11.926.48
CalibrationOn-chipOff-chipOn-chipOn-chip
Process (nm)5555180250
DownLoad: CSV
[1]
Kim W, Hong H K, Roh Y J, et al. A 0.6 V 12 b 10 MS/s low-noise asynchronous SAR-assisted time-interleaved SAR (SATI-SAR) ADC. IEEE J Solid-State Circuits, 2016, 51, 1826 doi: 10.1109/JSSC.2016.2563780
[2]
Shikata A, Sekimoto R, Kuroda T, et al. A 0.5 V 1.1 MS/sec 6.3 fJ/conversion-Step SAR-ADC with tri-level comparator in 40 nm CMOS. IEEE J Solid-State Circuits, 2012, 47, 1022 doi: 10.1109/JSSC.2012.2185352
[3]
Harpe P, Cantatore E, van Roermund A. A 10b/12b 40 kS/s SAR ADC with data-driven noise reduction achieving up to 10.1b ENOB at 2.2 fJ/conversion-step. IEEE J Solid-State Circuits, 2013, 48, 3011 doi: 10.1109/JSSC.2013.2278471
[4]
Nuzzo P, De Bernardinis F, Terreni P, et al. Noise analysis of regenerative comparators for reconfigurable ADC architectures. IEEE Trans Circuits Syst I, 2008, 55, 1441 doi: 10.1109/TCSI.2008.917991
[5]
Verbruggen B, Tsouhlarakis J, Yamamoto T, et al. A 60 dB SNDR 35 MS/s SAR ADC with comparator-noise-based stochastic residue estimation. IEEE J Solid-State Circuits, 2015, 50, 2002 doi: 10.1109/JSSC.2015.2422781
[6]
Zhong J Y, Zhu Y, Chan C H, et al. A 12b 180MS/s 0.068mm2 with full-calibration-integrated pipelined-SAR ADC. IEEE Trans Circuits Syst I, 2017, 64, 1684 doi: 10.1109/TCSI.2017.2679748
[7]
Verma N, Chandrakasan A P. An ultra low energy 12-bit rate-resolution scalable SAR ADC for wireless sensor nodes. IEEE J Solid-State Circuits, 2007, 42, 1196 doi: 10.1109/JSSC.2007.897157
[8]
Shen J H, Shikata A, Fernando L D, et al. A 16-bit 16-MS/s SAR ADC with on-chip calibration in 55-nm CMOS. IEEE J Solid-State Circuits, 2018, 53, 1149 doi: 10.1109/JSSC.2017.2784761
[9]
Chen Y, Zhu X, Tamura H, et al. Split capacitor DAC mismatch calibration in successive approximation ADC. IEICE Trans Electron, 2010, 93, 295 doi: 10.1109/CICC.2009.5280859
[10]
McNeill J A, Chan K Y, Coln M C W, et al. All-digital background calibration of a successive approximation ADC using the “split ADC” architecture. IEEE Trans Circuits Syst I, 2011, 58, 2355 doi: 10.1109/TCSI.2011.2123590
[11]
Hummerston D, Hurrell P. An 18-bit 2MS/s pipelined SAR ADC utilizing a sampling distortion cancellation circuit with –107dB THD at 100kHz. 2017 Symp VLSI Circuits, 2017, C280
[12]
McCreary J L, Gray P R. All-MOS charge redistribution analog-to-digital conversion techniques. I. IEEE J Solid-State Circuits, 1975, 10, 371 doi: 10.1109/JSSC.1975.1050629
[13]
Harpe P J, Zhou C, Bi Y, et al. A 26 W 8 bit 10 MS/s asynchronous SAR ADC for low energy radios. IEEE J Solid-State Circuits, 2011, 46, 1585 doi: 10.1109/JSSC.2011.2143870
[14]
Li H X, Maddox M, Coln M C W, et al. A signal-independent background-calibrating 20b 1MS/s SAR ADC with 0.3ppm INL. 2018 IEEE International Solid-State Circuits Conference, 2018
[15]
Liu C C, Chang S J, Huang G Y, et al. A 10-bit 50-MS/s SAR ADC with a monotonic capacitor switching procedure. IEEE J Solid-State Circuits, 2010, 45, 731 doi: 10.1109/JSSC.2010.2042254
[16]
Harpe P, Zhang Y, Dolmans G, et al. A 7-to-10b 0-to-4MS/s flexible SAR ADC with 6.5-to-16fJ/conversion-step. 2012 IEEE International Solid-State Circuits Conference, 2012, 472
[17]
Seo M J, Roh Y J, Chang D J, et al. A reusable code-based SAR ADC design with CDAC compiler and synthesizable analog building blocks. IEEE Trans Circuits Syst II, 2018, 65, 1904 doi: 10.1109/TCSII.2018.2822811
[18]
Harpe P, Cantatore E, van Roermund A. An oversampled 12/14b SAR ADC with noise reduction and linearity enhancements achieving up to 79.1dB SNDR. 2014 IEEE International Solid-State Circuits Conference Digest of Technical Papers (ISSCC), 2014, 194
[19]
Miki T, Morie T, Matsukawa K, et al. A 4.2 mW 50 MS/s 13 bit CMOS SAR ADC With SNR and SFDR enhancement techniques. IEEE J Solid-State Circuits, 2015, 50, 1372 doi: 10.1109/JSSC.2015.2417803
[20]
Hurrell C P, Lyden C, Laing D, et al. An 18 b 12.5 MS/s ADC with 93 dB SNR. IEEE J Solid-State Circuits, 2010, 45, 2647 doi: 10.1109/JSSC.2010.2075310
[21]
Wagdy M F, Goff M. Linearizing average transfer characteristics of ideal ADC's via analog and digital dither. IEEE Trans Instrum Meas, 1994, 43, 146 doi: 10.1109/19.293411
[22]
Lee C C, Lu C Y, Narayanaswamy R, et al. A 12b 70MS/s SAR ADC with digital startup calibration in 14nm CMOS. 2015 Symposium on VLSI Circuits (VLSI Circuits), 2015, C62
[23]
Shen J H, Shikata A, Fernando L, et al. A 16-bit 16MS/s SAR ADC with on-chip calibration in 55nm CMOS. 2017 Symposium on VLSI Circuits Digest of Technical Papers, 2017
[24]
Maddox M, Chen B Z, Coln M, et al. A 16 bit linear passive-charge-sharing SAR ADC in 55nm CMOS. 2016 IEEE Asian Solid-State Circuits Conf (A-SSCC), 2016, 153
  • Search

    Advanced Search >>

    GET CITATION

    shu

    Export: BibTex EndNote

    Article Metrics

    Article views: 7320 Times PDF downloads: 455 Times Cited by: 0 Times

    History

    Received: 19 March 2020 Revised: 12 May 2020 Online: Accepted Manuscript: 23 July 2020Uncorrected proof: 30 July 2020Published: 08 December 2020

    Catalog

      Email This Article

      User name:
      Email:*請輸入正確郵箱
      Code:*驗證碼錯誤
      Xian Zhang, Xiaodong Cao, Xuelian Zhang. A 16-bit 1 MSPS SAR ADC with foreground calibration and residual voltage shift strategy[J]. Journal of Semiconductors, 2020, 41(12): 122401. doi: 10.1088/1674-4926/41/12/122401 ****X Zhang, X D Cao, X L Zhang, A 16-bit 1 MSPS SAR ADC with foreground calibration and residual voltage shift strategy[J]. J. Semicond., 2020, 41(12): 122401. doi: 10.1088/1674-4926/41/12/122401.
      Citation:
      Xian Zhang, Xiaodong Cao, Xuelian Zhang. A 16-bit 1 MSPS SAR ADC with foreground calibration and residual voltage shift strategy[J]. Journal of Semiconductors, 2020, 41(12): 122401. doi: 10.1088/1674-4926/41/12/122401 ****
      X Zhang, X D Cao, X L Zhang, A 16-bit 1 MSPS SAR ADC with foreground calibration and residual voltage shift strategy[J]. J. Semicond., 2020, 41(12): 122401. doi: 10.1088/1674-4926/41/12/122401.

      A 16-bit 1 MSPS SAR ADC with foreground calibration and residual voltage shift strategy

      DOI: 10.1088/1674-4926/41/12/122401
      More Information
      • Corresponding author: Email: xdcao@semi.ac.cn
      • Received Date: 2020-03-19
      • Revised Date: 2020-05-12
      • Published Date: 2020-12-10

      Catalog

        /

        DownLoad:  Full-Size Img  PowerPoint
        Return
        Return