J. Semicond. > 2018, Volume 39?>?Issue 9?> 094006

SEMICONDUCTOR DEVICES

Characterizations of high-voltage vertically-stacked GaAs laser power converter

Jie Huang1, 2, Yurun Sun1, Yongming Zhao1, 2, Shuzhen Yu1, Kuilong Li3, , Jianrong Dong1, , Jiping Xue4, Chi Xue4 and Yang Ye4

+ Author Affiliations

 Corresponding author: Kuilong Li, likuilong123@126.com; Jianrong Dong, E-mail: jrdong2007@sinano.ac.cn

DOI: 10.1088/1674-4926/39/9/094006

PDF

Turn off MathJax

Abstract: Six-junction vertically-stacked GaAs laser power converters (LPCs) with n+-GaAs/p+-Al0.37Ga0.63As tunnel junctions have been designed and grown by metal-organic chemical vapor deposition for converting the power of 808 nm lasers. The LPC chips are characterized by measuring current–voltage (I–V) characteristics under 808 nm laser illumination, and a maximum conversion efficiency ηc of 53.1% is obtained for LPCs with an aperture diameter of 2 mm at an input laser power of 0.5 W. In addition, the characteristics of the LPCs are analyzed by a standard equivalent-circuit model, and the reverse saturation current, ideality factor, series resistance and shunt resistance are extracted by fitting of the I–V curves.

Key words: six-junctionlaser power converters (LPCs)GaAs



[1]
Thompson M T, Schlecht M F. High power laser diode driver based on power converter technology. IEEE Trans Power Electron, 1997, 12(1): 46 doi: 10.1109/63.554168
[2]
Fave A, Kaminski A, Gavand M, et al. GaAs converter for high power laser diode. 25th IEEE Photovoltaic Specialists Conference (Washington, USA), 1996: 101
[3]
Fafard S, Proulx F, York M C A, et al. High-photovoltage GaAs vertical epitaxial monolithic heterostructures with 20 thin p/n junctions and a conversion efficiency of 60%. Appl Phys Lett, 2016, 109: 131107 doi: 10.1063/1.4964120
[4]
Park S, Borton D A, Kang M, et al. An implantable neural sensing microsystem with fiber-optic data transmission and power delivery. Sensors, 2013, 13(5): 6014 doi: 10.3390/s130506014
[5]
Shi J W, Kuo F M, Yang C S, et al. Dynamic analysis of cascaded laser power converters for simultaneous high-speed data detection and optical-to-electrical DC power generation. IEEE Trans Electron Dev, 2011, 58(7): 2049 doi: 10.1109/TED.2011.2136379
[6]
Singh N, Ho C K F, Leong Y N, et al. InAlGaAs/InP-based laser photovoltaic converter at ~1070 nm. IEEE Electron Device Lett, 2016, 37(9): 1154 doi: 10.1109/LED.2016.2591015
[7]
Schubert J, Oliva E, Dimroth F, et al. High-voltage GaAs photovoltaic laser power converters. IEEE Trans Electron Dev, 2009, 56(2): 170 doi: 10.1109/TED.2008.2010603
[8]
Shan T Q, Qi X L. Design and optimization of GaAs Photovoltaic converter for laser power beaming. Infrared Phys Technol, 2015, 71: 144 doi: 10.1016/j.infrared.2015.03.010
[9]
Khvostikov V P, Kalyuzhnyy N A, Mintairov S A, et al. Photovoltaic laser-power converter based on AlGaAs/GaAs heterostructures. Semiconductors, 2016, 50(9): 1220 doi: 10.1134/S1063782616090128
[10]
Liu L, Chen N F, Bai Y M, et al. Quantum efficiency and temperature coefficients of GaInP/GaAs dual-junction solar cell. Sci Chin Ser E, 2009, 52: 1176
[11]
Zhang H, Chen N F, Wang Y, et al. Design and optimization of a monolithic GaInP/GaInAs tandem solar cell. J Semicond, 2010, 31(8): 084009 doi: 10.1088/1674-4926/31/8/084009
[12]
Valdivia C E, Wilkins M M, Bouzazi B, et al. Five-volt vertically-stacked single-cell GaAs photonic power converter. Proc SPIE, 2015, 9358: 93580E
[13]
Palik E D. Handbook of optical constants of solids. New York: Academic Press, 1985: 429
[14]
Krismadinata, Rahim N A, Ping H W, et al. Photovoltaic module modeling using Simulink/Matlab. Proc Environ Sci, 2013, 17: 537 doi: 10.1016/j.proenv.2013.02.069
[15]
Priyanka, Lal M, Singh S N. A new method of determination of series and shunt resistances of silicon solar cells. Sol Energy Mater Sol Cells, 2007, 91(2): 137
[16]
Soto W D, Klein S A. Improvement and validation of a model for photovoltaic array performance. Sol Energy, 2006, 80(1): 78 doi: 10.1016/j.solener.2005.06.010
[17]
Anas A T, Muhammad A, Mohammed G. Series connected photovoltaic cells-modelling and analysis. Sustainability, 2017, 9(3): 371 doi: 10.3390/su9030371
[18]
Ding K, Zhang J W, Bian X G, et al. A simplified model for photovoltaic modules based on improved translation equations. Sol Energy, 2014, 101(1): 40
[19]
Jung D, Parker C A, Ramdani J, et al. AlGaAs/GaInP heterojunction tunnel diode for cascade solar cell application. J Appl Phys, 1993, 74(3): 2090 doi: 10.1063/1.354753
[20]
Katz E A, Gordon J M, Tassew W, et al. Photovoltaic characterization of concentrator solar cells by localized irradiation. J Appl Phys, 2006, 100(4): 78
[21]
H?hn O, Walker A W, Bett A W, et al. Optimal laser wavelength for efficient laser power converter operation over temperature. Appl Phys Lett, 2016, 108(24): 971
[22]
Hirst L C, Yakes M K, Warner J H, et al. Intrinsic radiation tolerance of ultra-thin GaAs solar cells. Appl Phys Lett, 2016, 109(3): 899
[23]
Zhao Y M, Sun Y R, He Y, et al. Design and fabrication of six-volt vertically-stacked GaAs photovoltaic power converter. Sci Rep, 2016, 6: 38044 doi: 10.1038/srep38044
[24]
Sun Y R, Dong J R, He Y, et al. A six-junction GaAs laser power converter with different sizes of active aperture. Optoelectron Lett, 2017, 13(1): 0021 doi: 10.1007/s11801-016-6193-8
[25]
Masson D, Proulx F, Fafard S. Pushing the limits of concentrated photovoltaic solar cell tunnel junctions in novel high-efficiency GaAs phototransducers based on a vertical epitaxial heterostructure architecture. Prog Photovolt: Res Appl, 2015, 23(12): 1687 doi: 10.1002/pip.2709
[26]
AraKi K, Yamaguchi M. An Si concentrator cell by single photolithography process. Sol Energy Mater Sol Cells, 2001, 65(1): 437
[27]
Singh S N, Kumar D. Phenomenological model of anomalously high photovoltage generated in obliquely deposited semiconductor films. J Appl Phys, 2008, 103(2): 105
[28]
AraKi K , Yamaguchi M, T. Characteristics of GaAs-based concentrator cells. Sol Energy Mater Sol Cells, 2001, 66(1): 559
[29]
Tarabsheh A A, Etier I. Analysis of the ideality factor of a-Si:H solar cells. J Sol Energy Eng, 2011, 133(1): 011012 doi: 10.1115/1.4003294
[30]
Lumb M P, Steiner M A, Geisz J F, et al. Incorporating photon recycling into the analytical drift-diffusion model of high efficiency solar cells. J Appl Phys, 2014, 116(19): 462
Fig. 1.  Schematic cross-section of an LPC structure.

Fig. 2.  Equivalent circuit of a PV converter.

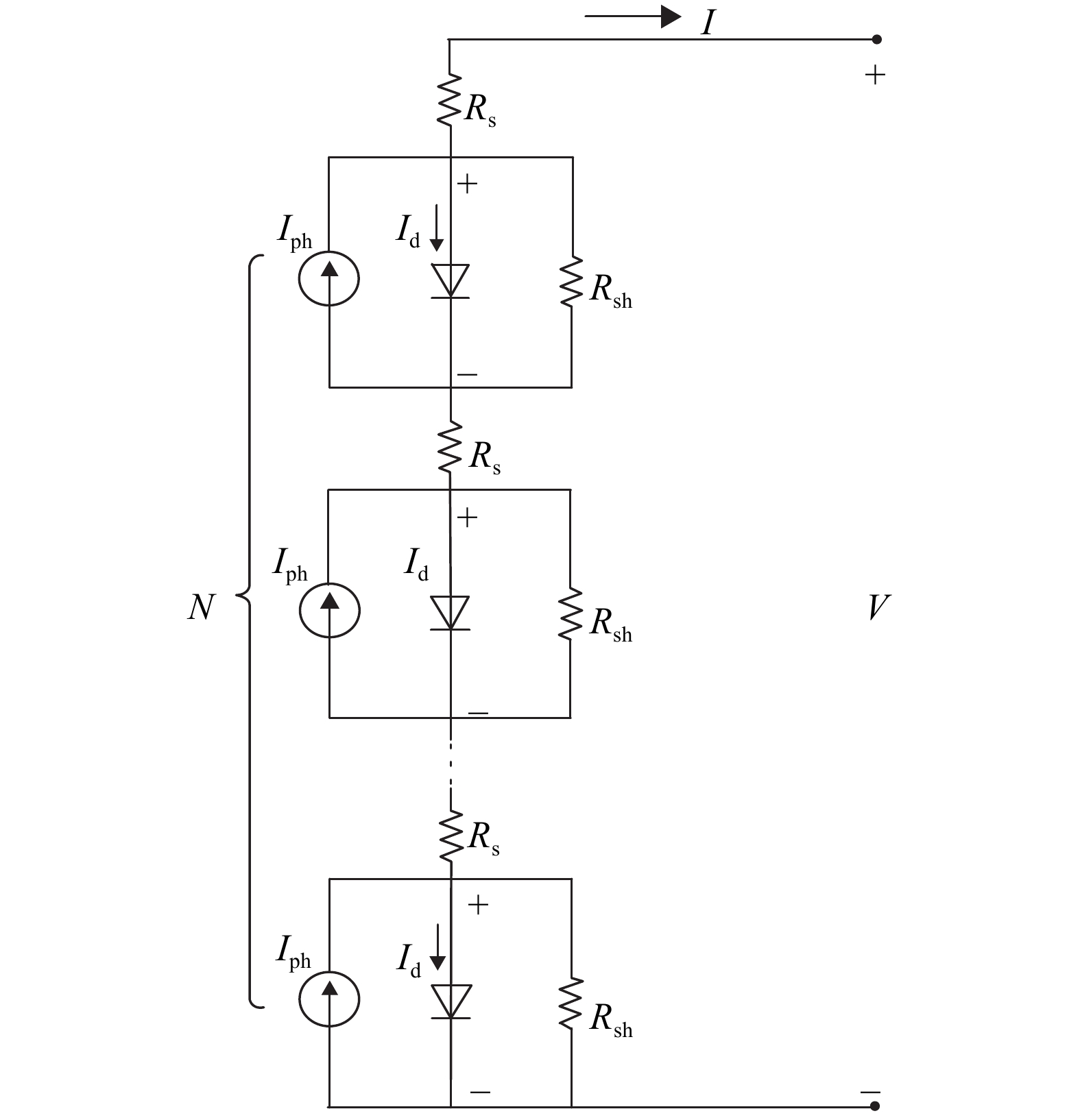
Fig. 3.  SEC of series-connected N-junction PV cells.

Fig. 4.  (Color online) (a) A microscopic image of a six-junction GaAs LPC, and (b) a picture of the measurement setup.

Fig. 5.  Measured EQE of a six-junction GaAs LPC.

Fig. 6.  (a) Measured IV characteristics. (b) Output power, ηc and FF as a function of input laser power.

Fig. 7.  The dependence of measured results on temperature: (a) EQE, and (b) Voc.

Fig. 8.  Measured (circles) and fitting IV characteristics of an LPC using the SEC model (solid line).

Fig. 9.  Dependence of the parameters of sub-cell on input laser power: (a) Rs and Rsh, and (b) Is and n.

[1]
Thompson M T, Schlecht M F. High power laser diode driver based on power converter technology. IEEE Trans Power Electron, 1997, 12(1): 46 doi: 10.1109/63.554168
[2]
Fave A, Kaminski A, Gavand M, et al. GaAs converter for high power laser diode. 25th IEEE Photovoltaic Specialists Conference (Washington, USA), 1996: 101
[3]
Fafard S, Proulx F, York M C A, et al. High-photovoltage GaAs vertical epitaxial monolithic heterostructures with 20 thin p/n junctions and a conversion efficiency of 60%. Appl Phys Lett, 2016, 109: 131107 doi: 10.1063/1.4964120
[4]
Park S, Borton D A, Kang M, et al. An implantable neural sensing microsystem with fiber-optic data transmission and power delivery. Sensors, 2013, 13(5): 6014 doi: 10.3390/s130506014
[5]
Shi J W, Kuo F M, Yang C S, et al. Dynamic analysis of cascaded laser power converters for simultaneous high-speed data detection and optical-to-electrical DC power generation. IEEE Trans Electron Dev, 2011, 58(7): 2049 doi: 10.1109/TED.2011.2136379
[6]
Singh N, Ho C K F, Leong Y N, et al. InAlGaAs/InP-based laser photovoltaic converter at ~1070 nm. IEEE Electron Device Lett, 2016, 37(9): 1154 doi: 10.1109/LED.2016.2591015
[7]
Schubert J, Oliva E, Dimroth F, et al. High-voltage GaAs photovoltaic laser power converters. IEEE Trans Electron Dev, 2009, 56(2): 170 doi: 10.1109/TED.2008.2010603
[8]
Shan T Q, Qi X L. Design and optimization of GaAs Photovoltaic converter for laser power beaming. Infrared Phys Technol, 2015, 71: 144 doi: 10.1016/j.infrared.2015.03.010
[9]
Khvostikov V P, Kalyuzhnyy N A, Mintairov S A, et al. Photovoltaic laser-power converter based on AlGaAs/GaAs heterostructures. Semiconductors, 2016, 50(9): 1220 doi: 10.1134/S1063782616090128
[10]
Liu L, Chen N F, Bai Y M, et al. Quantum efficiency and temperature coefficients of GaInP/GaAs dual-junction solar cell. Sci Chin Ser E, 2009, 52: 1176
[11]
Zhang H, Chen N F, Wang Y, et al. Design and optimization of a monolithic GaInP/GaInAs tandem solar cell. J Semicond, 2010, 31(8): 084009 doi: 10.1088/1674-4926/31/8/084009
[12]
Valdivia C E, Wilkins M M, Bouzazi B, et al. Five-volt vertically-stacked single-cell GaAs photonic power converter. Proc SPIE, 2015, 9358: 93580E
[13]
Palik E D. Handbook of optical constants of solids. New York: Academic Press, 1985: 429
[14]
Krismadinata, Rahim N A, Ping H W, et al. Photovoltaic module modeling using Simulink/Matlab. Proc Environ Sci, 2013, 17: 537 doi: 10.1016/j.proenv.2013.02.069
[15]
Priyanka, Lal M, Singh S N. A new method of determination of series and shunt resistances of silicon solar cells. Sol Energy Mater Sol Cells, 2007, 91(2): 137
[16]
Soto W D, Klein S A. Improvement and validation of a model for photovoltaic array performance. Sol Energy, 2006, 80(1): 78 doi: 10.1016/j.solener.2005.06.010
[17]
Anas A T, Muhammad A, Mohammed G. Series connected photovoltaic cells-modelling and analysis. Sustainability, 2017, 9(3): 371 doi: 10.3390/su9030371
[18]
Ding K, Zhang J W, Bian X G, et al. A simplified model for photovoltaic modules based on improved translation equations. Sol Energy, 2014, 101(1): 40
[19]
Jung D, Parker C A, Ramdani J, et al. AlGaAs/GaInP heterojunction tunnel diode for cascade solar cell application. J Appl Phys, 1993, 74(3): 2090 doi: 10.1063/1.354753
[20]
Katz E A, Gordon J M, Tassew W, et al. Photovoltaic characterization of concentrator solar cells by localized irradiation. J Appl Phys, 2006, 100(4): 78
[21]
H?hn O, Walker A W, Bett A W, et al. Optimal laser wavelength for efficient laser power converter operation over temperature. Appl Phys Lett, 2016, 108(24): 971
[22]
Hirst L C, Yakes M K, Warner J H, et al. Intrinsic radiation tolerance of ultra-thin GaAs solar cells. Appl Phys Lett, 2016, 109(3): 899
[23]
Zhao Y M, Sun Y R, He Y, et al. Design and fabrication of six-volt vertically-stacked GaAs photovoltaic power converter. Sci Rep, 2016, 6: 38044 doi: 10.1038/srep38044
[24]
Sun Y R, Dong J R, He Y, et al. A six-junction GaAs laser power converter with different sizes of active aperture. Optoelectron Lett, 2017, 13(1): 0021 doi: 10.1007/s11801-016-6193-8
[25]
Masson D, Proulx F, Fafard S. Pushing the limits of concentrated photovoltaic solar cell tunnel junctions in novel high-efficiency GaAs phototransducers based on a vertical epitaxial heterostructure architecture. Prog Photovolt: Res Appl, 2015, 23(12): 1687 doi: 10.1002/pip.2709
[26]
AraKi K, Yamaguchi M. An Si concentrator cell by single photolithography process. Sol Energy Mater Sol Cells, 2001, 65(1): 437
[27]
Singh S N, Kumar D. Phenomenological model of anomalously high photovoltage generated in obliquely deposited semiconductor films. J Appl Phys, 2008, 103(2): 105
[28]
AraKi K , Yamaguchi M, T. Characteristics of GaAs-based concentrator cells. Sol Energy Mater Sol Cells, 2001, 66(1): 559
[29]
Tarabsheh A A, Etier I. Analysis of the ideality factor of a-Si:H solar cells. J Sol Energy Eng, 2011, 133(1): 011012 doi: 10.1115/1.4003294
[30]
Lumb M P, Steiner M A, Geisz J F, et al. Incorporating photon recycling into the analytical drift-diffusion model of high efficiency solar cells. J Appl Phys, 2014, 116(19): 462
  • Search

    Advanced Search >>

    GET CITATION

    shu

    Export: BibTex EndNote

    Article Metrics

    Article views: 4425 Times PDF downloads: 75 Times Cited by: 0 Times

    History

    Received: 30 November 2017 Revised: 02 March 2018 Online: Uncorrected proof: 16 May 2018Accepted Manuscript: 05 July 2018Published: 01 September 2018

    Catalog

      Email This Article

      User name:
      Email:*請輸入正確郵箱
      Code:*驗證碼錯誤
      Jie Huang, Yurun Sun, Yongming Zhao, Shuzhen Yu, Kuilong Li, Jianrong Dong, Jiping Xue, Chi Xue, Yang Ye. Characterizations of high-voltage vertically-stacked GaAs laser power converter[J]. Journal of Semiconductors, 2018, 39(9): 094006. doi: 10.1088/1674-4926/39/9/094006 ****J Huang, Y R Sun, Y M Zhao, S Z Yu, K L Li, J R Dong, J P Xue, C Xue, Y Ye, Characterizations of high-voltage vertically-stacked GaAs laser power converter[J]. J. Semicond., 2018, 39(9): 094006. doi: 10.1088/1674-4926/39/9/094006.
      Citation:
      Jie Huang, Yurun Sun, Yongming Zhao, Shuzhen Yu, Kuilong Li, Jianrong Dong, Jiping Xue, Chi Xue, Yang Ye. Characterizations of high-voltage vertically-stacked GaAs laser power converter[J]. Journal of Semiconductors, 2018, 39(9): 094006. doi: 10.1088/1674-4926/39/9/094006 ****
      J Huang, Y R Sun, Y M Zhao, S Z Yu, K L Li, J R Dong, J P Xue, C Xue, Y Ye, Characterizations of high-voltage vertically-stacked GaAs laser power converter[J]. J. Semicond., 2018, 39(9): 094006. doi: 10.1088/1674-4926/39/9/094006.

      Characterizations of high-voltage vertically-stacked GaAs laser power converter

      DOI: 10.1088/1674-4926/39/9/094006
      Funds:

      Project supported by the National Natural Science Foundation of China (No. 61604171), the Jiangsu Province Science Foundation for Youths (No. BK20170431), and Zhongtian Technology Group Co. Ltd.

      More Information

      Catalog

        /

        DownLoad:  Full-Size Img  PowerPoint
        Return
        Return