Special Issue on Flexible and Wearable Electronics: from Materials to Applications
Wentao Dong1, 2, ?, Chen Zhu1, 3, ?, Wei Hu1, 3, Lin Xiao1, 3 and Yong’an Huang1, 3,
Corresponding author: Yong’an Huang, yahuang@hust.edu.cn (Y. Huang)
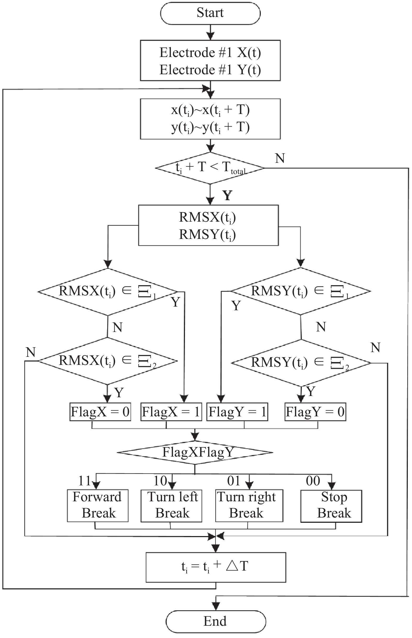
Abstract: Current stretchable surface electrodes have attracted increasing attention owing to their potential applications in biological signal monitoring, wearable human-machine interfaces (HMIs) and the Internet of Things. The paper proposed a stretchable HMI based on a surface electromyography (sEMG) electrode with a self-similar serpentine configuration. The sEMG electrode was transfer-printed onto the skin surface conformally to monitor biological signals, followed by signal classification and controlling of a mobile robot. Such electrodes can bear rather large deformation (such as >30%) under an appropriate areal coverage. The sEMG electrodes have been used to record electrophysiological signals from different parts of the body with sharp curvature, such as the index finger, back of the neck and face, and they exhibit great potential for HMI in the fields of robotics and healthcare. The electrodes placed onto the two wrists would generate two different signals with the fist clenched and loosened. It is classified to four kinds of signals with a combination of the gestures from the two wrists, that is, four control modes. Experiments demonstrated that the electrodes were successfully used as an HMI to control the motion of a mobile robot remotely.
Key words: electromyography, stretchable electronics, e-skin, biological signal monitoring, human-machine interface
| [1] |
Sun Y, Yu X B. Capacitive biopotential measurement for electrophysiological signal acquisition: a review. IEEE Sens J, 2016, 16: 2832 doi: 10.1109/JSEN.2016.2519392
|
| [2] |
Lopez A, Richardson P C. Capacitive electrocardiographic and bioelectric electrodes. IEEE Trans Biomed Eng, 1969, 16: 99
|
| [3] |
Son D, Lee J, Qiao S, et al. Multifunctional wearable devices for diagnosis and therapy of movement disorders. Nat Nanotechnol, 2014, 9: 397 doi: 10.1038/nnano.2014.38
|
| [4] |
Kim D H, Wang S, Keum H, et al. Thin, flexible sensors and actuators as 'instrumented' surgical sutures for targeted wound monitoring and therapy. Small, 2012, 8: 3263 doi: 10.1002/smll.v8.21
|
| [5] |
Liao L D, Wang I J, Chen S F, et al. Design, fabrication and experimental validation of a novel dry-contact sensor for measuring electroencephalography signals without skin preparation. Sensors (Basel), 2011, 11: 5819 doi: 10.3390/s110605819
|
| [6] |
Al-Ajam Y, Lancashire H, Pendegrass C, et al. The use of a bone-anchored device as a hard-wired conduit for transmitting EMG signals from implanted muscle electrodes. IEEE Trans Biomed Eng, 2013, 60: 1654 doi: 10.1109/TBME.2013.2241060
|
| [7] |
Huang Y, Ding Y, Bian J, et al. Hyper-stretchable self-powered sensors based on electrohydrodynamically printed, self-similar piezoelectric nano/microfibers. Nano Energy, 2017, 40: 432 doi: 10.1016/j.nanoen.2017.07.048
|
| [8] |
Jeong J W, Yeo W H, Akhtar A, et al. Materials and optimized designs for human-machine interfaces via epidermal electronics. Adv Mater, 2013, 25: 6839 doi: 10.1002/adma.v25.47
|
| [9] |
Lim S, Son D, Kim J, et al. Transparent and stretchable interactive human machine interface based on patterned graphene heterostructures. Adv Funct Mater, 2015, 25: 375 doi: 10.1002/adfm.201402987
|
| [10] |
Xu B, Akhtar A, Liu Y, et al. An epidermal stimulation and sensing platform for sensorimotor prosthetic control, management of lower back exertion, and electrical muscle activation. Adv Mater, 2015, 28: 4462
|
| [11] |
Pan L, Zhang D, Sheng X, et al. Improving myoelectric control for amputees through transcranial direct current stimulation. IEEE Trans Biomed Eng, 2015, 62: 1927 doi: 10.1109/TBME.2015.2407491
|
| [12] |
He J, Zhang D, Sheng X, et al. Invariant surface EMG feature against varying contraction level for myoelectric control based on muscle coordination. IEEE J Biomed Health Informa, 2015, 19: 874
|
| [13] |
Liu B, Chen X, Cai H, et al. Surface acoustic wave devices for sensor applications. J Semicond, 2016, 37: 021001 doi: 10.1088/1674-4926/37/2/021001
|
| [14] |
Mercer J A, Bezodis N, DeLion D, et al. EMG sensor location: does it influence the ability to detect differences in muscle contraction conditions. J Electromyogr Kinesiol, 2006, 16: 198 doi: 10.1016/j.jelekin.2005.07.002
|
| [15] |
Jeong J W, Kim M K, Cheng H, et al. Capacitive epidermal electronics for electrically safe, long-term electrophysiological measurements. Adv Health Mater, 2014, 3: 642 doi: 10.1002/adhm.201300334
|
| [16] |
Kim D H, Lu N, Ma R, et al. Epidermal electronics. Science, 2011, 333: 838 doi: 10.1126/science.1206157
|
| [17] |
Kim J, Lee M, Rhim J S, et al. Next-generation flexible neural and cardiac electrode arrays. Biomed Eng Lett, 2014, 4: 95 doi: 10.1007/s13534-014-0132-4
|
| [18] |
Huang X, Cheng H, Chen K, et al. Epidermal impedance sensing sheets for precision hydration assessment and spatial mapping. IEEE Trans Biomed Eng, 2013, 60: 2848 doi: 10.1109/TBME.2013.2264879
|
| [19] |
Hammock M L, Chortos A , Tee B C, et al. The evolution of electronic skin (e-skin): a brief history, design considerations, and recent progress. Adv Mater, 2013, 25: 5997 doi: 10.1002/adma.201302240
|
| [20] |
Cheng T, Zhang Y Z, Zhang J D, et al. High-performance free-standing PEDOT: PSS electrodes for flexible and transparent all-solid-state supercapacitors. J Mater Chem A, 2016, 4: 10493 doi: 10.1039/C6TA03537J
|
| [21] |
Cheng T, Zhang Y, Lai W Y, et al. Stretchable thin-film electrodes for flexible electronics with high deformability and stretchability. Adv Mater, 2015, 27: 3349 doi: 10.1002/adma.v27.22
|
| [22] |
Cheng T, Zhang Y Z, Yi J P, et al. Inkjet-printed flexible, transparent and aesthetic energy storage devices based on PEDOT:PSS/Ag grid electrodes. J Mater Chem A, 2016, 4: 13754 doi: 10.1039/C6TA05319J
|
| [23] |
Jang K I, Chung H U, Xu S, et al. Soft network composite materials with deterministic and bio-inspired designs. Nat Commun, 2015, 6: 6566 doi: 10.1038/ncomms7566
|
| [24] |
Fan J A, Yeo W H, Su Y, et al. Fractal design concepts for stretchable electronics. Nat Commun, 2014, 5: 3266
|
| [25] |
Huang Y, Dong W, Huang T, et al. Self-similar design for stretchable wireless LC strain sensors. Sens Actuators A, 2015, 224: 36 doi: 10.1016/j.sna.2015.01.004
|
| [26] |
Dong W, Xiao L, Hu W, et al. Wearable human–machine interface based on PVDF piezoelectric sensor. Transactions of the Institute of Measurement and Control, 2017, 39: 398 doi: 10.1177/0142331216672918
|
| [27] |
Jung S, Kim J H, Kim J, et al. Reverse-micelle-induced porous pressure-sensitive rubber for wearable human–machine interfaces. Adv Mater, 2014, 26: 4825 doi: 10.1002/adma.v26.28
|
| [28] |
Li C, Zhou P, Zhang D W. Devices and applications of van der Waals heterostructures. J Semicond, 2017, 38: 031005 doi: 10.1088/1674-4926/38/3/031005
|
| [29] |
Tang J, Li J, Vlassak J J, et al. Adhesion between highly stretchable materials. Soft Matter, 2016, 12: 1093 doi: 10.1039/C5SM02305J
|
| [30] |
Wang S D, Li M, Wu J, et al. Mechanics of epidermal electronics. J Appl Mech, 2012, 79: 031022 doi: 10.1115/1.4005963
|
| [31] |
Dong W, Xiao L, Zhu C, et al. Theoretical and experimental study of 2D conformability of stretchable electronics laminated onto skin. Sci China Technol Sci, 2017: 60
|
| [32] |
Dong W, Zhu C, Ye D, et al. Optimal design of self-similar serpentine interconnects embedded in stretchable electronics. Appl Phys A, 2017, 123: 428 doi: 10.1007/s00339-017-0985-3
|
| [33] |
Zhang Y, Fu H, Su Y, et al. Mechanics of ultra-stretchable self-similar serpentine interconnects. Acta Mater, 2013, 61: 7816 doi: 10.1016/j.actamat.2013.09.020
|
| [34] |
Wang L F, Liu J Q, Yang B, et al. PDMS-based low cost flexible dry electrode for long-term EEG measurement. IEEE Sens J, 2012, 12: 2898 doi: 10.1109/JSEN.2012.2204339
|
| [1] |
Sun Y, Yu X B. Capacitive biopotential measurement for electrophysiological signal acquisition: a review. IEEE Sens J, 2016, 16: 2832 doi: 10.1109/JSEN.2016.2519392
|
| [2] |
Lopez A, Richardson P C. Capacitive electrocardiographic and bioelectric electrodes. IEEE Trans Biomed Eng, 1969, 16: 99
|
| [3] |
Son D, Lee J, Qiao S, et al. Multifunctional wearable devices for diagnosis and therapy of movement disorders. Nat Nanotechnol, 2014, 9: 397 doi: 10.1038/nnano.2014.38
|
| [4] |
Kim D H, Wang S, Keum H, et al. Thin, flexible sensors and actuators as 'instrumented' surgical sutures for targeted wound monitoring and therapy. Small, 2012, 8: 3263 doi: 10.1002/smll.v8.21
|
| [5] |
Liao L D, Wang I J, Chen S F, et al. Design, fabrication and experimental validation of a novel dry-contact sensor for measuring electroencephalography signals without skin preparation. Sensors (Basel), 2011, 11: 5819 doi: 10.3390/s110605819
|
| [6] |
Al-Ajam Y, Lancashire H, Pendegrass C, et al. The use of a bone-anchored device as a hard-wired conduit for transmitting EMG signals from implanted muscle electrodes. IEEE Trans Biomed Eng, 2013, 60: 1654 doi: 10.1109/TBME.2013.2241060
|
| [7] |
Huang Y, Ding Y, Bian J, et al. Hyper-stretchable self-powered sensors based on electrohydrodynamically printed, self-similar piezoelectric nano/microfibers. Nano Energy, 2017, 40: 432 doi: 10.1016/j.nanoen.2017.07.048
|
| [8] |
Jeong J W, Yeo W H, Akhtar A, et al. Materials and optimized designs for human-machine interfaces via epidermal electronics. Adv Mater, 2013, 25: 6839 doi: 10.1002/adma.v25.47
|
| [9] |
Lim S, Son D, Kim J, et al. Transparent and stretchable interactive human machine interface based on patterned graphene heterostructures. Adv Funct Mater, 2015, 25: 375 doi: 10.1002/adfm.201402987
|
| [10] |
Xu B, Akhtar A, Liu Y, et al. An epidermal stimulation and sensing platform for sensorimotor prosthetic control, management of lower back exertion, and electrical muscle activation. Adv Mater, 2015, 28: 4462
|
| [11] |
Pan L, Zhang D, Sheng X, et al. Improving myoelectric control for amputees through transcranial direct current stimulation. IEEE Trans Biomed Eng, 2015, 62: 1927 doi: 10.1109/TBME.2015.2407491
|
| [12] |
He J, Zhang D, Sheng X, et al. Invariant surface EMG feature against varying contraction level for myoelectric control based on muscle coordination. IEEE J Biomed Health Informa, 2015, 19: 874
|
| [13] |
Liu B, Chen X, Cai H, et al. Surface acoustic wave devices for sensor applications. J Semicond, 2016, 37: 021001 doi: 10.1088/1674-4926/37/2/021001
|
| [14] |
Mercer J A, Bezodis N, DeLion D, et al. EMG sensor location: does it influence the ability to detect differences in muscle contraction conditions. J Electromyogr Kinesiol, 2006, 16: 198 doi: 10.1016/j.jelekin.2005.07.002
|
| [15] |
Jeong J W, Kim M K, Cheng H, et al. Capacitive epidermal electronics for electrically safe, long-term electrophysiological measurements. Adv Health Mater, 2014, 3: 642 doi: 10.1002/adhm.201300334
|
| [16] |
Kim D H, Lu N, Ma R, et al. Epidermal electronics. Science, 2011, 333: 838 doi: 10.1126/science.1206157
|
| [17] |
Kim J, Lee M, Rhim J S, et al. Next-generation flexible neural and cardiac electrode arrays. Biomed Eng Lett, 2014, 4: 95 doi: 10.1007/s13534-014-0132-4
|
| [18] |
Huang X, Cheng H, Chen K, et al. Epidermal impedance sensing sheets for precision hydration assessment and spatial mapping. IEEE Trans Biomed Eng, 2013, 60: 2848 doi: 10.1109/TBME.2013.2264879
|
| [19] |
Hammock M L, Chortos A , Tee B C, et al. The evolution of electronic skin (e-skin): a brief history, design considerations, and recent progress. Adv Mater, 2013, 25: 5997 doi: 10.1002/adma.201302240
|
| [20] |
Cheng T, Zhang Y Z, Zhang J D, et al. High-performance free-standing PEDOT: PSS electrodes for flexible and transparent all-solid-state supercapacitors. J Mater Chem A, 2016, 4: 10493 doi: 10.1039/C6TA03537J
|
| [21] |
Cheng T, Zhang Y, Lai W Y, et al. Stretchable thin-film electrodes for flexible electronics with high deformability and stretchability. Adv Mater, 2015, 27: 3349 doi: 10.1002/adma.v27.22
|
| [22] |
Cheng T, Zhang Y Z, Yi J P, et al. Inkjet-printed flexible, transparent and aesthetic energy storage devices based on PEDOT:PSS/Ag grid electrodes. J Mater Chem A, 2016, 4: 13754 doi: 10.1039/C6TA05319J
|
| [23] |
Jang K I, Chung H U, Xu S, et al. Soft network composite materials with deterministic and bio-inspired designs. Nat Commun, 2015, 6: 6566 doi: 10.1038/ncomms7566
|
| [24] |
Fan J A, Yeo W H, Su Y, et al. Fractal design concepts for stretchable electronics. Nat Commun, 2014, 5: 3266
|
| [25] |
Huang Y, Dong W, Huang T, et al. Self-similar design for stretchable wireless LC strain sensors. Sens Actuators A, 2015, 224: 36 doi: 10.1016/j.sna.2015.01.004
|
| [26] |
Dong W, Xiao L, Hu W, et al. Wearable human–machine interface based on PVDF piezoelectric sensor. Transactions of the Institute of Measurement and Control, 2017, 39: 398 doi: 10.1177/0142331216672918
|
| [27] |
Jung S, Kim J H, Kim J, et al. Reverse-micelle-induced porous pressure-sensitive rubber for wearable human–machine interfaces. Adv Mater, 2014, 26: 4825 doi: 10.1002/adma.v26.28
|
| [28] |
Li C, Zhou P, Zhang D W. Devices and applications of van der Waals heterostructures. J Semicond, 2017, 38: 031005 doi: 10.1088/1674-4926/38/3/031005
|
| [29] |
Tang J, Li J, Vlassak J J, et al. Adhesion between highly stretchable materials. Soft Matter, 2016, 12: 1093 doi: 10.1039/C5SM02305J
|
| [30] |
Wang S D, Li M, Wu J, et al. Mechanics of epidermal electronics. J Appl Mech, 2012, 79: 031022 doi: 10.1115/1.4005963
|
| [31] |
Dong W, Xiao L, Zhu C, et al. Theoretical and experimental study of 2D conformability of stretchable electronics laminated onto skin. Sci China Technol Sci, 2017: 60
|
| [32] |
Dong W, Zhu C, Ye D, et al. Optimal design of self-similar serpentine interconnects embedded in stretchable electronics. Appl Phys A, 2017, 123: 428 doi: 10.1007/s00339-017-0985-3
|
| [33] |
Zhang Y, Fu H, Su Y, et al. Mechanics of ultra-stretchable self-similar serpentine interconnects. Acta Mater, 2013, 61: 7816 doi: 10.1016/j.actamat.2013.09.020
|
| [34] |
Wang L F, Liu J Q, Yang B, et al. PDMS-based low cost flexible dry electrode for long-term EEG measurement. IEEE Sens J, 2012, 12: 2898 doi: 10.1109/JSEN.2012.2204339
|
Article views: 5911 Times PDF downloads: 91 Times Cited by: 0 Times
Received: 21 July 2017 Revised: 25 September 2017 Online: Accepted Manuscript: 27 December 2017Published: 01 January 2018
| Citation: |
Wentao Dong, Chen Zhu, Wei Hu, Lin Xiao, Yong’an Huang. Stretchable human-machine interface based on skin-conformal sEMG electrodes with self-similar geometry[J]. Journal of Semiconductors, 2018, 39(1): 014001. doi: 10.1088/1674-4926/39/1/014001
****
W T Dong, C Zhu, W Hu, L Xiao, Y Huang, Stretchable human-machine interface based on skin-conformal sEMG electrodes with self-similar geometry[J]. J. Semicond., 2018, 39(1): 014001. doi: 10.1088/1674-4926/39/1/014001.
|
Project supported by the National Natural Science Foundation of China (Nos. 51635007, 91323303).
| [1] |
Sun Y, Yu X B. Capacitive biopotential measurement for electrophysiological signal acquisition: a review. IEEE Sens J, 2016, 16: 2832 doi: 10.1109/JSEN.2016.2519392
|
| [2] |
Lopez A, Richardson P C. Capacitive electrocardiographic and bioelectric electrodes. IEEE Trans Biomed Eng, 1969, 16: 99
|
| [3] |
Son D, Lee J, Qiao S, et al. Multifunctional wearable devices for diagnosis and therapy of movement disorders. Nat Nanotechnol, 2014, 9: 397 doi: 10.1038/nnano.2014.38
|
| [4] |
Kim D H, Wang S, Keum H, et al. Thin, flexible sensors and actuators as 'instrumented' surgical sutures for targeted wound monitoring and therapy. Small, 2012, 8: 3263 doi: 10.1002/smll.v8.21
|
| [5] |
Liao L D, Wang I J, Chen S F, et al. Design, fabrication and experimental validation of a novel dry-contact sensor for measuring electroencephalography signals without skin preparation. Sensors (Basel), 2011, 11: 5819 doi: 10.3390/s110605819
|
| [6] |
Al-Ajam Y, Lancashire H, Pendegrass C, et al. The use of a bone-anchored device as a hard-wired conduit for transmitting EMG signals from implanted muscle electrodes. IEEE Trans Biomed Eng, 2013, 60: 1654 doi: 10.1109/TBME.2013.2241060
|
| [7] |
Huang Y, Ding Y, Bian J, et al. Hyper-stretchable self-powered sensors based on electrohydrodynamically printed, self-similar piezoelectric nano/microfibers. Nano Energy, 2017, 40: 432 doi: 10.1016/j.nanoen.2017.07.048
|
| [8] |
Jeong J W, Yeo W H, Akhtar A, et al. Materials and optimized designs for human-machine interfaces via epidermal electronics. Adv Mater, 2013, 25: 6839 doi: 10.1002/adma.v25.47
|
| [9] |
Lim S, Son D, Kim J, et al. Transparent and stretchable interactive human machine interface based on patterned graphene heterostructures. Adv Funct Mater, 2015, 25: 375 doi: 10.1002/adfm.201402987
|
| [10] |
Xu B, Akhtar A, Liu Y, et al. An epidermal stimulation and sensing platform for sensorimotor prosthetic control, management of lower back exertion, and electrical muscle activation. Adv Mater, 2015, 28: 4462
|
| [11] |
Pan L, Zhang D, Sheng X, et al. Improving myoelectric control for amputees through transcranial direct current stimulation. IEEE Trans Biomed Eng, 2015, 62: 1927 doi: 10.1109/TBME.2015.2407491
|
| [12] |
He J, Zhang D, Sheng X, et al. Invariant surface EMG feature against varying contraction level for myoelectric control based on muscle coordination. IEEE J Biomed Health Informa, 2015, 19: 874
|
| [13] |
Liu B, Chen X, Cai H, et al. Surface acoustic wave devices for sensor applications. J Semicond, 2016, 37: 021001 doi: 10.1088/1674-4926/37/2/021001
|
| [14] |
Mercer J A, Bezodis N, DeLion D, et al. EMG sensor location: does it influence the ability to detect differences in muscle contraction conditions. J Electromyogr Kinesiol, 2006, 16: 198 doi: 10.1016/j.jelekin.2005.07.002
|
| [15] |
Jeong J W, Kim M K, Cheng H, et al. Capacitive epidermal electronics for electrically safe, long-term electrophysiological measurements. Adv Health Mater, 2014, 3: 642 doi: 10.1002/adhm.201300334
|
| [16] |
Kim D H, Lu N, Ma R, et al. Epidermal electronics. Science, 2011, 333: 838 doi: 10.1126/science.1206157
|
| [17] |
Kim J, Lee M, Rhim J S, et al. Next-generation flexible neural and cardiac electrode arrays. Biomed Eng Lett, 2014, 4: 95 doi: 10.1007/s13534-014-0132-4
|
| [18] |
Huang X, Cheng H, Chen K, et al. Epidermal impedance sensing sheets for precision hydration assessment and spatial mapping. IEEE Trans Biomed Eng, 2013, 60: 2848 doi: 10.1109/TBME.2013.2264879
|
| [19] |
Hammock M L, Chortos A , Tee B C, et al. The evolution of electronic skin (e-skin): a brief history, design considerations, and recent progress. Adv Mater, 2013, 25: 5997 doi: 10.1002/adma.201302240
|
| [20] |
Cheng T, Zhang Y Z, Zhang J D, et al. High-performance free-standing PEDOT: PSS electrodes for flexible and transparent all-solid-state supercapacitors. J Mater Chem A, 2016, 4: 10493 doi: 10.1039/C6TA03537J
|
| [21] |
Cheng T, Zhang Y, Lai W Y, et al. Stretchable thin-film electrodes for flexible electronics with high deformability and stretchability. Adv Mater, 2015, 27: 3349 doi: 10.1002/adma.v27.22
|
| [22] |
Cheng T, Zhang Y Z, Yi J P, et al. Inkjet-printed flexible, transparent and aesthetic energy storage devices based on PEDOT:PSS/Ag grid electrodes. J Mater Chem A, 2016, 4: 13754 doi: 10.1039/C6TA05319J
|
| [23] |
Jang K I, Chung H U, Xu S, et al. Soft network composite materials with deterministic and bio-inspired designs. Nat Commun, 2015, 6: 6566 doi: 10.1038/ncomms7566
|
| [24] |
Fan J A, Yeo W H, Su Y, et al. Fractal design concepts for stretchable electronics. Nat Commun, 2014, 5: 3266
|
| [25] |
Huang Y, Dong W, Huang T, et al. Self-similar design for stretchable wireless LC strain sensors. Sens Actuators A, 2015, 224: 36 doi: 10.1016/j.sna.2015.01.004
|
| [26] |
Dong W, Xiao L, Hu W, et al. Wearable human–machine interface based on PVDF piezoelectric sensor. Transactions of the Institute of Measurement and Control, 2017, 39: 398 doi: 10.1177/0142331216672918
|
| [27] |
Jung S, Kim J H, Kim J, et al. Reverse-micelle-induced porous pressure-sensitive rubber for wearable human–machine interfaces. Adv Mater, 2014, 26: 4825 doi: 10.1002/adma.v26.28
|
| [28] |
Li C, Zhou P, Zhang D W. Devices and applications of van der Waals heterostructures. J Semicond, 2017, 38: 031005 doi: 10.1088/1674-4926/38/3/031005
|
| [29] |
Tang J, Li J, Vlassak J J, et al. Adhesion between highly stretchable materials. Soft Matter, 2016, 12: 1093 doi: 10.1039/C5SM02305J
|
| [30] |
Wang S D, Li M, Wu J, et al. Mechanics of epidermal electronics. J Appl Mech, 2012, 79: 031022 doi: 10.1115/1.4005963
|
| [31] |
Dong W, Xiao L, Zhu C, et al. Theoretical and experimental study of 2D conformability of stretchable electronics laminated onto skin. Sci China Technol Sci, 2017: 60
|
| [32] |
Dong W, Zhu C, Ye D, et al. Optimal design of self-similar serpentine interconnects embedded in stretchable electronics. Appl Phys A, 2017, 123: 428 doi: 10.1007/s00339-017-0985-3
|
| [33] |
Zhang Y, Fu H, Su Y, et al. Mechanics of ultra-stretchable self-similar serpentine interconnects. Acta Mater, 2013, 61: 7816 doi: 10.1016/j.actamat.2013.09.020
|
| [34] |
Wang L F, Liu J Q, Yang B, et al. PDMS-based low cost flexible dry electrode for long-term EEG measurement. IEEE Sens J, 2012, 12: 2898 doi: 10.1109/JSEN.2012.2204339
|
Journal of Semiconductors © 2017 All Rights Reserved 京ICP備05085259號-2